環保型MBV垃圾處理技術
1 引言
MBV為機械、生物和發酵三字的德文縮寫。意思是用機械化的、生物的現代控制技術,處理日常生活垃圾,變廢為寶,回收再生資源,生產電、熱以及綠色肥料。MBV環保設施稱為MBA,是近年來德國蓬勃發展的環保產業,目前已建有60多座。如法蘭克福的一個環保企業RMB,其擁有一座現代化的MBV生活垃圾處理中心,生活垃圾年處理量為35000噸。2006年6月,法蘭克福市西部工業園區開工建設了一座全新的MBA,其規模比東部的RMB大3倍左右,發電發熱裝機容量為4兆瓦,每年處理垃圾9萬噸,計劃到2007年第三季度投產。由此可見,MBV是一項成熟的現代環保工程技術。
環保產業在狹義上講,涉及到水、空氣和垃圾,與人類生活息息相關。其中,垃圾處理已有很長的歷史,特別是工業革命以來一直困擾著人類。上世紀九十年代末、本世紀初,西方工業國家逐漸進入MBV階段。在垃圾處理的第二、第三階段,伴隨著繁瑣的垃圾分檢。現在德國大部分城市的垃圾分檢實行的都是三桶或四桶制度(即將垃圾分為三或四大類)。德國的北威州正在嘗試簡化分檢,試行二桶制度(即將垃圾分為可回收和不可回收二大類)。
但在MBV階段,人們不再需要繁瑣的垃圾分檢、累贅的垃圾堆放場和昂貴的大型垃圾焚燒發電供熱站。
2 MBV生物發酵的理論基礎
MBV的核心是微生物發酵技術。MBV處理生活垃圾,主要利用了該技術的厭氧性和喜氧性發酵。
2.1 MBV厭氧性發酵原理
(1)厭氧性發酵
沼氣池是利用厭氧性發酵原理的雛形。MBV厭氧性發酵可以分為四個階段:水解、酸化、醋化和甲烷。
1)水解:水解細菌利用發酵酶,將高分子有機物如蛋白質、脂肪、纖維素、碳水化合物等,轉化為低分子化合物,如單糖、氨基酸、脂肪酸和水等。
2)酸化:酸化細菌消化由水解階段產生的低分子化合物,在垃圾水漿中以階乘遞增速度繁殖增長,幾乎耗盡垃圾水漿中的全部氧氣,為甲烷細菌創造了良好的生長環境。酸化細菌生產出二氧化碳、氫氣、酒精和各種低分子有機酸等。
3)醋化:醋化細菌消化各種有機酸,生產出甲烷細菌需要的醋酸、二氧化碳和氫氣。醋化細菌對溫度十分敏感。
4)甲烷:甲烷細菌消化醋酸、甲酸、氫氣和二氧化碳等。大約90%的甲烷在這一階段產出,其中約70%來自醋酸。甲烷細菌完全厭氧,最佳的酸堿度為中性。
(2)發酵系統的分類
基于上述厭氧性發酵的四個階段,目前主要采用一級或二級發酵系統。
1)一級發酵系統:厭氧性發酵的四個階段在同一個發酵室內控制進行。其優點是投資較少,缺點是發酵制控水平低,生物氣的質量低。目前,許多MBV設施采用一級發酵系統。如印度農民的沼氣池,地上挖個帶有進出口的大坑,蓋上一層帶有導氣管的尼龍薄膜,即可成為一個一級發酵系統。
2)二級發酵系統:厭氧性發酵的水解和酸化階段在一個發酵室內控制進行,醋化和甲烷階段在另一個發酵室內控制進行。優點是發酵制控度強,生物氣的質量高,甲烷含量可達到80%。缺點是投資量大,需要兩套監控系統。
3)組合型發酵系統(簡稱三級發酵系統):組合型發酵系統具有兩個發酵室。在兩個發酵室之間裝有閘門和調控設備。根據垃圾水漿的不同類型,可通過閘門的開和關,靈活地連通和切斷兩個發酵室的聯結。當閘門打開時,兩個發酵室連成一體,成為一級發酵系統;當閘門關閉時,組合型發酵系統成為二級發酵系統。該系統適用于有機垃圾年供應量在15萬噸以上的城市。
4)模塊組合型發酵系統(簡稱四級發酵系統):模塊組合型發酵系統的模塊是一個三級發酵系統。模塊之間裝有閘門和調控設備。當有機垃圾年供應量達30萬噸以上時,可采用此拓撲結構。而且,模塊數越多,經濟效益越高。模塊間的空間關系可以是平面和上下兩種結構。平面結構安全性高,上下結構可節省土地。
理論上講,厭氧性發酵的每個階段都可配備一個發酵室。但模塊組合型發酵系統要求更高的發酵制控水平和對發酵過程更深的認識。
5)模塊組合層型發酵系統(簡稱五級發酵系統);模塊組合層型發酵系統的拓撲結構與模塊組合型發酵系統類似,只是在每個發酵室內再縱向分層、橫向分段。最簡單的分兩層:上層為生物氣,下層為垃圾水漿。垃圾水漿可以多層制控,特別是在最底層,有害物質含量較高。但是,多層制控要求對垃圾水漿的分類和各類垃圾水漿的物理和生化特性有更深層的理解,發酵室的制控設備也復雜得多。另外,可以在上層為生物氣的垂直方向上分段。在第一個發酵室入口的一段距離內,生物氣的質量低,可能都是廢氣,如果采用滑動隔離方式,就可以提高生物氣的質量。
(3)厭氧性發酵細菌的生長因素
根據厭氧性發酵細菌的生長因素,人們可以設置相應的監控系統,為它們創造良好的生長環境。影響厭氧性發酵細菌繁殖生長的已知因素有:
1)潮濕的環境。控制參數為濕度。厭氧性發酵細菌只能在潮濕的環境下繁殖。垃圾水漿的濕度應在50%以上。
2)密封的環境。光會嚴重阻礙厭氧性發酵細菌的增長。所以,發酵需在密封的條件下控制進行。
3)平穩的溫度。甲烷細菌生長的溫度為0℃~70℃。在0℃~70℃之間,溫度越高,發酵速度就越快,產氣量就越多,垃圾處理量就越大。但同時,生物氣的質量也就越低,發酵制控水平的要求就越高。
合適的溫度,取決于垃圾水漿的類型。人們通常把0℃~70℃劃成三個溫度區:0℃~25℃為低溫區;25℃~45℃為中溫區;45℃~70℃為高溫區。
當前,大多數MBV設施采用中溫區。二級以上的發酵系統可以靈活調節各個發酵室的溫度。但是,不管溫度設在哪區,都需恒溫,恒溫誤差控制在1℃以內。RMB公司的MBV設施運行溫度設在57℃。
4)合適的酸堿度。控制參數為pH值。在水解和酸化階段,pH值應為4.5~6.3。在醋化和甲烷階段,酸堿度的最佳點應為中性。垃圾水漿的pH測定值是一個時間滯后值,調節到最佳區間需要一段時間。垃圾水漿的配料對酸堿度有很大影響。根據分類垃圾水漿的發酵經驗數據,人們可以預先設計垃圾水漿的配料和灌注速度,以實現在短時間內達到理想的pH值區。
5)垃圾水漿類型。垃圾水漿的分類和實時操作經驗對MBV設施的經濟效益有很大影響。簡易的分類可分為混合類和特殊類等。
混合類:包括所有的有機生活垃圾。對于混合類垃圾水漿,可以打開三級以上發酵系統的閘門或模塊間的閘門,連通多個發酵室,成為一級發酵系統。
特殊類:如植物的葉、莖、梗、塊根等為一類,當前,人們正在研究這一類生物垃圾的最佳發酵過程。另一類為人畜排泄物,對這類的發酵,人們已有豐富的操作經驗。此外還有污水處理后的污泥類等。
6)垃圾顆粒的表面積。垃圾在水漿中的顆粒越細,其總的表面積就越大,細菌對垃圾的攻擊面就越大,發酵速度就越快。
7)垃圾水漿的均勻灌注。發酵室的垃圾水漿不能過滿,也不能過少。垃圾水漿的灌注速度必須均勻。其實際操作數據要依據垃圾水漿的類型進行調整。
8)及時導出生物氣。否則,會因壓力過大而對發酵室造成危險。
9)有害物質。垃圾水漿中會含有有害物質,或在發酵過程中會產生有害物質。這些有害物質會破壞發酵細菌的細胞表層或細胞結構,或破壞發酵酶。常見的有害物質有氧氣、抗菌素、化療物、消毒劑、某些有機酸、碳酸、氨以及某些脂肪酸組合物,最有害的是硫化氫氣。
(4)發酵過程的參數
發酵過程的描述性參數有三個:發酵度、發酵室載重和垃圾水漿在發酵室的滯留時間。發酵度與發酵室載重和滯留時間相關。
1)發酵室載重:此參數的單位是kgOTS/m3d(OTS代表干燥有機物),它的意義是每天向發酵室灌輸的1m3垃圾水漿中的干燥有機物的公斤數。發酵室載重不能過高也不能過低。
2)滯留時間:與垃圾類型和發酵室溫度有關。
3)發酵度:100%的垃圾發酵是不經濟的。在垃圾不含木質素時,才能完全發酵而礦物質化。
發酵過程的其它控制參數有:溫度、pH值、垃圾類型、生物氣的氣流量以及硫和氨的含量、生物氣成分、氫離子濃度、垃圾水漿儲存緩沖能力及其它脂肪酸的含量等。
2.2 MBV喜氧性發酵原理
已有幾千年歷史的堆肥發酵,是喜氧性發酵原理應用的原始典型。目前,通過工業化制控手段,可使自然堆肥的發酵時間從8個月左右縮短至5個星期之內,并且提高了堆肥的質量。喜氧性發酵過程可分為三個階段:分解、腐殖質營養和腐殖質泥化階段。
(1)喜氧性發酵過程
1)分解階段。此時的微生物對生活環境要求不高。易分解的化合物如糖、蛋白質、淀粉等被分解為多糖、硝酸鹽、二氧化碳、氨、氨基酸等。有機物的營養成分被分解,并且部分地被還原成礦物質形式,溫度在此階段會升到70℃以上。
2)腐殖質營養階段。分解階段的礦化營養物作為基本原料,聯合其它分解物,就形成了腐殖質營養復合體。此階段的溫度逐漸降到30℃左右。這一階段的微生物不同于分解階段的微生物,它們對生活環境的要求較高,主要是溫度、濕度、空氣和不透光。
3)腐殖質泥化階段。腐殖質營養體在這一階段逐漸泥化。腐殖質對植物的直接營養作用逐漸降低,但其改良土壤的作用逐漸升高。
在喜氧性發酵的工業化控制過程中,發酵的分解和腐殖質營養階段在一個帶有通氣和排氣設備的密封水泥房中控制進行。通氣和排氣設備控制著發酵房中的溫度、濕度和空氣,使微生物有一個良好的生長環境。腐殖質泥化階段在一個開放的自放通氣發酵廳內控制進行。發酵時間約為2個星期。
(2)喜氧性發酵的控制因素
喜氧性發酵的控制相比厭氧性發酵的控制要簡單得多。它的控制因素有:濕度、溫度、空氣、不透光;生物垃圾的成分;泥土加入量。
其中,泥土的加入量約為10%。江、河、湖中的淤泥最好。因此,可以考慮建造吸泥船,既能疏通河道,增加蓄水能力,又能生產堆肥。
目前,利用現代堆肥發酵技術,就能有效地控制以上所述的各個發酵因素。
3 MBV平面設計
MBV環保設施由垃圾機械分檢廳、厭氧性發酵模塊、堆肥發酵排房廳、組套熱發電機組、廢氣處理設施5大部分組成,其平面設計示意見圖1。
![]() |
圖1中的發酵室11和發酵室12組成一個模塊,簡稱模塊1;發酵室21和發酵室22組成一個模塊,簡稱模塊2;發酵室31和發酵室32組成一個模塊,簡稱模塊3;發酵室41和發酵室42組成一個模塊,簡稱模塊4。
以此類推,MBV環保設施可以有N個模塊。每個發酵室約長50m,寬15m,高15m。一個模塊的兩個發酵室之間的距離約15m,模塊之間的距離約30m。發酵室之間和模塊之間除了安裝閘門外,還需安裝各類測控設備。
法蘭克福市RMB公司1999年投產的MBV設施僅有一個發酵室。所以,它用的材料都比較貴重,測控設備也具備很高的要求,整體造價很高。但是投產后的維修保養費用很低,并且折舊年限高達20年。在20年內,除了收回投資外,還有豐厚的利潤。而且,它的社會效益很大,既保護了環境,又提供了能源和就業機會。現在,人們開始建造模塊式的MBV環保設施。
三級以上的MBV發酵系統的各個發酵室可關可通,這給維修保養帶來了很大的方便。可以降低發酵室和測控系統的材料質量要求,折舊年限水平可設計在50年,平均5年維修一次。這樣,就可以大幅度降低MBV環保設施的初期投資并可以擴大融資期限,減輕每年的投資強度,使得每個城市都能馬上著手建設MBV環保設施,改善居民生活環境。
從MBV平面設計示意圖可以看到,MBV環保工程技術是一項多門學科綜合應用的集成型高科技。它涉及機械設計、生物發酵、計算機技術、現代測控技術、建筑設計、農業科技、廢氣處理等方面。它的各個組成部分互相關聯,共同決定MBV環保設施的整體經濟效益。
4 MBV操作流程圖
MBV操作流程由垃圾分檢流程、厭氧性發酵流程、喜氧性發酵流程、發電供熱流程、廢氣凈化流程5個子流程組成。操作流程見圖2。
![]() |
圖2示意了人與自然的友好循環體系。圖的下半部分為MBV的配套設施,如蔬菜生產基地、人畜排污物處理中心等。處理中心難以處理的污泥,正是MBV設施的優質原料之一。這樣,MBV環保設施、蔬菜種植業和排污物處理中心就可以相互協調、互相促進,徹底解決城市排污、生活垃圾處理和綠色蔬菜供應的問題。
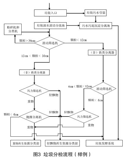
4.1 垃圾分檢流程(見圖3)
![]() |
圖3所示的垃圾分檢流程僅作為一個樣例。根據垃圾機械分檢設備的發展和垃圾分檢深度的需要,可以添加相應的分檢設備。
從圖3中可以看出,各種分檢設備的運轉均需要大量的電能。在2006年10月德國環保工業展覽會(Entsorga-
Enteco)上,奧地利展出的一臺大型垃圾粉碎機就需用20kW的電功率。若所有垃圾分檢設備都用公用電網的電能,則費用很高,MBV設施就難以贏利。而MBV設施的發電供熱流程,能夠提供垃圾分檢流程所需要的大量電能。
垃圾分檢設備的分檢能力是人們所關心的焦點之一。目前,生活垃圾可以實現全自動化分檢,只是其生產成本還太高。我國袋裝型生活垃圾的特點是水分大、粘性高、成分復雜。為此,人們應該采用先潮濕型、后干燥型的分檢過程。深水滾動分洗池是分檢潮濕型垃圾的主要分檢設備。它的分檢輸出分為三類:生物污泥、干凈的重物和輕飄物。而且,潮濕型垃圾分檢過程可以與后續的潮濕型厭氧性發酵的前三個發酵階段有效地結合起來。
4.2 厭氧性發酵流程
以三級發酵系統為例,演示厭氧性發酵流程(見圖4)。
![]() |
垃圾水漿在發酵室1內的滯留時間相應于發酵的水解和酸化階段。垃圾水漿在發酵室2內的滯留時間相應于發酵的醋化和甲烷階段。螺型壓干機后的水中含有許多厭氧性發酵細菌,經過簡單的凈水器就可以把它們送入下一輪發酵過程。這是一個厭氧性發酵細菌正反饋的應用過程。所以,一個大型的MBV發酵系統一旦啟動起來,由于慣性大和厭氧性發酵細菌的正反饋過程,就基本不會產生發酵過程中的死池現象。它就象一座無煙的熊熊燃燒的超大型鍋爐,吞噬著成批的生物垃圾,生產出大量的生物氣,供給組套熱發電機組,發出巨大的電能和熱能。
4.3 發電供熱流程
發電供熱流程的關鍵設備是比較昂貴的組套熱發電機組,其使用壽命與生物氣的凈化程度有關。生物氣中毒性和腐蝕性最大的氣體是硫化氫。發電供熱流程見圖5。
![]() |
厭氧性發酵流程的大量生物氣中含有多種氣體,主要有甲烷、二氧化碳、水汽、氮和硫化氫等。組套熱發電機組一般要求甲烷含量不低于40%。另外,硫化氫應從生物氣中清除。由于甲烷和二氧化碳的水溶性不同,可以通過一定的過濾設備,清除生物氣中的大部分二氧化碳并提高生物氣的干燥度。這一類提高生物氣質量的措施都是現代科技發展的結果,如凈化硫化氫的噴氣設備和生物設備就是最近幾年的科技發展產物,特別是Seaborne技術可利用硫化氫和發酵剩余物生產化肥等。
生物氣經過凈化后可以儲存,也可以送入組套熱發電機組。相對于太陽能和風能,生物氣的儲存功能是一大優點。當然,只有MBV環保設施達到一定規模時,生物氣的儲存才有經濟效益。而且,生物氣、風能和太陽能可以相互結合,組成一個不受太陽、風等自然氣候條件影響的能源供給系統。
根據德國公司運行MBV設施的經驗,如法蘭克福市的RMB公司,其MBV設施所生產的電能,除了供給MBV設施的所有設備使用外,還有約1/2可輸入當地電網。所生產的熱能,除了供給發酵室升溫和恒溫外,還可剩余1/3。這都要歸功于組套熱發電機組的高效率。該設備的發電效率在35%以上,發熱效率在45%以上,總效率高達80%以上。正是它的高效率,才使得整個MBV環保設施具有了經濟效益,MBV環保工程科技才有了產生的基礎。
4.4 喜氧性發酵流程(堆肥發酵流程)
喜氧性發酵流程由發酵排房序列、自放通氣發酵廳、堆肥篩選廳、通氣設備和排氣設備5個部分組成。具體流程見圖6。
![]() |
對于一般家庭花園中的簡易堆肥設施,一次發酵需要約8個月的時間。依靠現代制控技術調節發酵最佳因素,已可使發酵時間縮短到5個星期以內。堆肥經過篩選后,清除了各種有害物質,成為衛生的綠色肥料,用此可生產出高質的綠色食品。通過加入各種特色物質,還可以生產出各種特色綠肥,促進相應的花卉植物的生長。法蘭克福市RMB公司生產的綠肥有專供改良土壤的、有適用于特定花卉的等。
4.5 廢氣凈化流程
廢氣凈化流程的重點之一是清除硫化氫。MBV環保設施幾乎在全封閉的狀態下運行,所有有害氣體都經過處理后由廢氣排放煙囪排出(見圖7)。
![]() |
MBV環保設施的廢氣來自于它的四個流程: 發電供熱流程、喜氧性發酵流程、垃圾分檢流程和厭氧性發酵流程。組套熱發電機組燃燒生物氣,放出大量二氧化組套熱發電機組燃燒生物氣,放出大量二氧化碳;喜氧性發酵流程會消耗空氣中的氧氣,產生各種垃圾發酵廢氣;厭氧性發酵流程產出的生物氣經過凈化處理后將分離出一部分廢氣;垃圾本身在垃圾分檢流程中也將放出一部分廢氣。
蔬菜等植物光合作用需要的二氧化碳,可以從MBV設施的二氧化碳通道直接獲得,而且純度高。根據德國2005年的一個農科研究成果測定,黃瓜、番茄大棚內多輸入16%的二氧化碳,可增產約20%。荷蘭有西歐蔬菜生產基地的聲譽,應用這項增產技術較普遍。所以,MBV環保設施周圍的安全空域地帶應該用于蔬菜生產。另外,人們可以進一步提高二氧化碳純度,清除氧氣和其它廢氣,供給相關專業使用,如避氧焊接專業等。
處理二氧化碳之外的其它各種廢氣可以利用一個小型垃圾焚燒發電供熱站。溫度可設計在1200℃以上,有必要時可附加某些常規的堿洗或酸洗過程。最后,氣流通過大型生物過濾箱后進入天空。
在以上流程中,MBV設施還應配套以下幾個系統:供氣、排氣系統、供水、排水系統,供電系統、供熱系統、運行數據測量和處理系統以及生產管理系統。
5 MBV運行時應注意的問題
(1)一結合
我國的袋裝生活垃圾由于具有水分大、粘性高、成分復雜的特點,因而垃圾分檢過程應該采用先潮濕型、后干燥型的分檢過程。并且,潮濕型分檢過程可有效地與潮濕型厭氧性發酵過程的前三個階段(水解、酸化、醋化)結合起來。
(2)三化
1)磚化: 垃圾分檢流程分檢出一部分硬物,如磚石等。此類硬物可就地轉化,用于建造更多的發酵室和深水滾動分洗池。2)肥化:所有生物垃圾通過生物發酵過程變為綠肥,用于種植業。3)油化:垃圾分檢流程將分檢出廢塑料等。廢塑料就地油化后用于制造再生塑料袋,可用于包裝生產的綠肥等。
(3)四循環
1)水循環:MBV環保設施除了投產時需要大量水外,以后為循環用水。包括發酵室循環用水和深水滾動分洗池的循環用水。2)熱循環:組套熱發電機組的發熱供給發酵室升溫和恒溫使用,以提高生物發酵效益,生產更多的生物氣。由此,組套熱發電機組將燃燒更多的生物氣、釋放出更多的熱量,直到達成某一平衡狀態。3)二氧化碳循環:二氧化碳用于種植業為小循環,MBV環保設施與大氣形成二氧化碳大循環。4)厭氧性發酵菌循環:厭氧性發酵過程中的前一輪發酵微生物經過凈水器后送入下一輪的厭氧性發酵過程,形成厭氧性發酵過程的一個正反饋過程。
(4)六關聯
1)垃圾堆放場的垃圾可為MBV環保設施的垃圾原料之一,通過MBV環保設施,逐步消化現有垃圾堆放場的垃圾,最后,徹底撤除垃圾堆放場。2)每個城市都應有一個人畜排污物處理中心。中心的污泥恰好是MBV設施的優質原料之一。3)小型垃圾焚燒發電供熱站容易設計制造、成本低、運行溫度高,可以與MBV設施的廢氣處理和殘渣處理有效地結合起來。4)MBV環保設施周圍最好無居民區。其空域地帶可建設蔬菜生產基地。5)與蔬菜生產基地兼容的禽畜養殖業也直接與MBV環保設施兼容,其所產生的排污物是發酵優質原料之一。6)大量的農作物秸稈也是MBV設施的發酵原料之一,并可避免因焚燒秸桿產生大量濃煙污染空氣。
6 MBV環保設施與大型垃圾焚燒發電供熱站的簡要比較
與大型垃圾焚燒發電供熱站相比,MBV環保設施具有以下明顯優點:
(1)在同一垃圾年處理量的前提下,投資額只有大型垃圾焚燒發電供熱站的1/10左右;
(2)無二次污染;
(3)再生資源回收利用率達100%;
(4)可生產綠肥供應種植業;
(5)盈利性運行。
7 MBV設施的地點選擇及其它
MBV設施的地點會直接影響它的整體長期經濟效益。所以,在地點選擇時,應綜合考慮各種影響因素。
(1)接近垃圾源
MBV有機垃圾源有:廚余垃圾;農、林、牧、漁的各種生物垃圾(如葉、莖、梗、根、塊根等);人畜排泄物;動物尸體;市場過期食物、糧倉的變質糧食;污水處理后的污泥;江、河、湖、海中的各種水生植物和淤泥等。
總之,除了特殊垃圾外,包含各種有機物垃圾。據統計,人類生活垃圾的50%左右為有機垃圾,其余的大部分是再生資源,只有3%左右才是真正的廢料。
(2)接近污水處理設施
一個城市的污水處理設施是居民排污物的處理中心。污水處理后的污泥是MBV設施的優質垃圾源。另外,MBV設施產生的極少一部分的污水可直達污水處理設施。
(3)接近農田
接近農田,可直接利用MBV設施生產的綠肥。
(4)接近公共電網變電站
MBV設施生產的電能除了本身消耗外,還有1/2左右可輸入當地電網。
(5)接近居民供熱網
MBV設施生產的熱能除了供本身使用外,剩余部分可輸入居民供熱網。
(6)接近小型垃圾焚燒設施或衛生掩埋場
生活垃圾經過MBV設施處理后,極少的殘余部分可以被焚燒或衛生掩埋。
(7)接近交通路線
接近交通路線可以減少垃圾運輸道路的建設。
(8)接近大型禽畜養殖場
禽畜類的排泄物是MBV設施的優質原料,并且它與蔬菜生產基地兼容。
(9)蔬菜玻璃暖房
MBV設施的組套熱發電機組燃燒甲烷,釋放出大量二氧化碳,造成局部地區空氣中的二氧化碳含量過高。利用玻璃暖房輸送二氧化碳,可促進蔬菜生長,降低空氣中二氧化碳含量。
(10)MBV環保設施的安全
隨著有機垃圾供應量的增加,人們可以不斷地擴建四級發酵系統的模塊。但是考慮到MBV環保設施的安全性和它接近垃圾源的因素,一個大城市應該在東南西北的各個方向上,都建設一個MBV環保設施。一個MBV設施受損或停運,其余的MBV設施可承擔或進行補充再運營。
(11)綜合利用
因為MBV設施占地面積較大,所以應該考慮土地的綜合利用,以提高MBV設施的整體經濟效益。如:
1)在發酵室頂上可建玻璃暖房,組套熱發電機組放出的二氧化碳就可近地利用。但發酵室頂上不宜建造太陽能發電裝置。
2)由于MBV發酵過程是循環用水過程,因而進行大面積的雨水積蓄足以滿足MBV設施的用水。
3)可在MBV設施的安全性空域之處建造簡易豎型風力發電機。
4)垃圾分檢廳和堆肥排房發酵廳的屋頂可設計利用太陽能發電。
5)可在MBV設施中進行相關的科學技術研究。
(12)控制建設成本
MBV設施的建設成本可高可低。德國的MBV設施發酵室的內壁高級不銹鋼雖可用幾十年,但造價貴;而印度農民采用的大土坑又過于簡陋。降低建設成本可采取以下措施:
1)采用70厘米厚的水泥墻作為發酵室的內壁,可用十年。根據經驗,十年內可能腐蝕20厘米厚的水泥墻。因此上屋建筑應設計在余下的50厘米厚的水泥基礎上。因為三級以上的發酵系統已特別適合維修保養,所以,發酵室可以設計為五年維修一次。并且,發酵室的內壁可涂上一層不影響發酵細菌生長的防腐涂料,以延長維修時間。另外,可以降低發酵室的大型攪拌加熱機的高材質要求。
2)組套熱發電機組比較昂貴,德國組套熱發電機組在硫化氫等毒氣含量較高時雖也能使用五年左右,但過后,組套熱發電機組的氣缸和活塞等都會被腐蝕以至不能使用。所以如果其它國家的組套熱發電機組價格便宜很多,也可以在大型MBV設施中適量選用。
3)MBV設施的規模在初期可以只有一個模塊,投產后,用所得利潤再擴建第二個模塊。
以上各個因素很難都統一起來,只能盡力而為。主要應該考慮將人畜排污物處理中心、蔬菜種植業和大型禽畜養殖場結合起來。MBV設施地點的選擇還與一個城市的整體布局規劃相關。
8 結語
(1)通過應用MBV環保工程技術,可以越過西方國家工業化過程中的多個環保階段:累贅的垃圾堆放場、繁瑣的垃圾分檢、昂貴的垃圾焚燒發電供熱站等,從而一步到位,直接形成一個環保的循環經濟體系。
(2)本文首次引入三級以上的發酵系統概念:組合型發酵系統、模塊組合型發酵系統、模塊組合層型發酵系統。它們兼顧一級和二級發酵系統的優點,適合于大型或超大型MBV環保設施。
(3)在德國,除了國家產業政策的扶持和補貼外,MBV環保設施已能準成本運行。MBV環保工程技術的應用有一大特點:規模經營。規模越大,利潤率越高。一般說來,我國一個城市的規模要比德國的大幾倍,生活垃圾的總量也要大得多。因此,我國的MBV環保設施將完全能盈利性運行。這就意味著,當今的MBV環保工程技術水平已經能在我國孕育出一項新興的MBV環保產業,從而可徹底解決生活垃圾的處理問題。
(4)MBV環保工程技術是當代科學技術發展的結果。就像大型垃圾焚燒發電供熱站是垃圾處理第三階段的代表性工程技術一樣,MBV是垃圾處理第四階段的代表性工程技術。這是因為:沒有現代垃圾機械分檢設備的迅速發展,就沒有垃圾分檢的多能高效;沒有生物發酵的高質高速,就沒有MBV設施的能源來源;沒有組套熱發電機組的高效率,就沒有MBV設施的利潤;沒有現代廢氣處理技術,就沒有人會接受MBV環保設施。所以說,MBV環保工程技術是一項多門學科綜合應用的集成型高科技。
參考文獻:
[1] Biogas Praxis von Barbara Eder und Heinz Schulz ISBN3-936896-13-5.
[2] Biogasanlage von Uwe G risch und Markus Helm ISDN-13:978-3-8001-483-8.
[3] CO2-Anreicherung in Gew chshausanlagen von Lutz K hler,Friesrich Lecker, Dietmar Prucker. KTBL-Schrift 440.
[4] Verwertung von Wirtschafts- und Sekund rrohstoffdüngern in der Landschaft. KTBL-Tagung vom 19. bis 20. April 2006 in Osnabück ISDN 3-939371-05-X.
[5] Kompostierung von Gerald Dunst 3.Auflage.ISDN 3-7020-0612-5.
[6] Faustzahlen für die Landwirtschaft 13.Auflage ISDN3-7843-2194-1.
[7] Humuswirtschaft und Kompost; Sonderausgabe 6.Jahregang ISSN 1432-5896.
[8] Datenbank Organische/Mineralische Abf lle und Wirtschaftsdünger (CD ROM) Autor KTBL.
[9] Kraftwerk Wiese: Strom und W rme aus Gras Autor Walter Graf 2.Auflage 2001 ISBN 3-89811-193-8.
[10] Grundlagen der Mikrobiologie von Cypionka Springer Verlag ISBN3-540-24084-5.
[11] Anaerobtechnik von Wolfgang Bischofsberger Springer Verlag ISBN 3-540-06850-3.

使用微信“掃一掃”功能添加“谷騰環保網”