LJB型螺旋式曝氣攪拌兩用機
![]() |
人氣:1741 發布時間:2011-08-03 13:22 關鍵詞:攪拌器 產品型號:LJB-55 應用領域:水處理 產品價格:面議 |
用途:
螺旋式曝氣攪拌兩用機具有一體兩用功能,既可以作曝氣用,也可作攪拌用。主要用于城市生活污水處理、工業廢水處理個魚塘增氧等場合。該機適用范圍:
1. 適合水深3~6m;
2. SBR生化池的曝氣及攪拌;
3. 生物脫氮除磷處理的好氧曝氣及厭氧攪拌;
4. 活性污泥曝氣和攪拌;
5. 氧化碳。
- 結構緊湊,占地面積小。投資少。
- 具有一體兩用功能,既可作曝氣用,也可作攪拌用,曝氣無需配鼓風機。
- 操作維護簡單,安裝方便快捷。
- 可根據溶解氧自動控制運行,便于實現自動控制。
型號說明:

構造及工作過程:
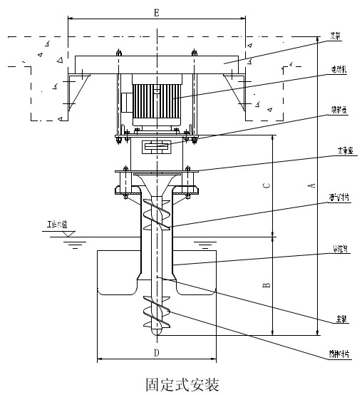
螺旋式曝氣攪拌兩用機,如圖所示,主要由電動機、支架、聯軸器、導流筒、螺旋葉片及主軸等組成。螺旋葉片分上下兩組上組,上組螺旋葉片置于水面之上,下組螺旋葉片置于水面之下。
曝氣式(設為正轉),在下組螺旋葉片的去強力旋流作用下,水從導流筒底部進入至上組螺旋葉片,在上組螺旋葉片的去強力旋流作用下,水呈幕狀自導流筒上部邊緣甩出,形成水躍,裹進大量空氣,使空氣中的氧氣分子迅速溶于水中,同時由于污水上、下循環,不斷更新液面,使污水大面積與空氣接觸空氣,進而有效地吸氧完成污水的充氧。
攪拌時(設為反轉),此時主軸旋轉方向與曝氣時相反,在下組旋轉螺旋葉片,水在池中產生循環流動,而上組螺旋葉片只空轉而不起作用,
性能參數及外形尺寸:

注:表中為清水狀態下P=101.325kpa、T=20℃,時的充氧能力
電氣控制:
常規普通就地按鈕控制。
可進行系統自動控制,實時動態檢測曝氣池運行狀態,程序控制相關設備的運行,實現工藝過程的自動化。
產品結構簡介:
該設備主要由立式電機、支架、支撐管、葉輪及浮筒或固定支架組成。如圖所示:

安裝型式:
該曝氣機安裝非常方便、靈活,可根據用戶需要及現場情況自主選擇以下安裝方式:
1.浮筒式安裝:不需要外加設置安裝平臺,用戶可直接將主機安裝在我公司另行配置的浮筒上,用三條纜繩固定,纜繩一端固定于浮筒吊環上,另一端固定在池壁上。
2.固定式安裝:需要安裝平臺(用戶自理),將主機機座直接固定于池壁或固定架上。