TBJ型推流式攪拌曝氣機
![]() |
人氣:1500 發布時間:2011-08-03 14:30 關鍵詞:攪拌器 產品型號:TBJ-1.1 應用領域:水處理 產品價格:面議 |
工作原理:
設備運行時,旋轉的葉輪在它的周圍區域形成了一個較強的負壓區,從而將空氣吸入,吸入的空氣被高速成旋轉的液體強烈剪切、粉碎、乳化,氣泡直徑迅速減小,促使氧分子從氣相迅速、充分地擴散到液相中去,實現最佳水氣合成,同時水、氣在動力推動下向前推進,使水、氣進一步熔解,達到曝氣和推流的目的。
產品規格及主要技術參數:
產品的工作條件決定的使用性能和使命壽命,本產品適用水溫為0℃~45℃,適用PH值4.5~9.0.性能參數如下表所示:

說明:大規格設備可根據實際需要定制
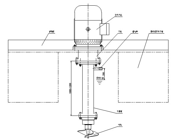
產品結構簡介:
該設備主要由立式電機、支架、支管架、葉輪及浮筒或固定支架組成。如圖所示:

安裝形式:
該曝氣機那幢非常方便、靈活,可根據用戶需要及現場情況自主選擇以下安裝方式:
1.浮動式安裝:不需要外加設置安裝平臺,用戶可直接將主機安裝在我公司另行配置的浮筒上,用四條纜繩固定,纜繩一段固定于浮筒吊環上,另一端固定在赤壁上。
2.固定式安裝:需要安裝平臺(用戶自理),將主機機座直接固定于池壁或固定架上,根據不同規格型號,確保兩只支架間距。
設備安裝調試:
浮筒式安裝
1. 主機附屬裝配完整:將進氣管、擋板及調整機構與主機組裝(出廠前我公司已將電機、支架,支撐管、傳動軸、葉輪等部件組裝成主機,請勿再調節或拆卸)。
2. 將浮筒組建整體放入池內,準備主機安裝。
3. 整機與浮筒裝配:將裝配好的主機安裝固定在浮筒上,保證個部分完整、正確的同時也需要保證各件裝配牢固。安裝時應注意:調節主機的入水深度和工作間角度。
4. 根據需求,啟用調整機構,調節主機的入水深度和工作角度。
5. 用選定纜繩按其安裝形式固定浮筒。
6. 正確安裝配置電氣控制部分。
7. 接通電源,測試電氣性能,保證無誤下限點動運行,確定其旋轉方向是否符合要求(由葉輪向電機方向看葉輪為順時針運轉),如葉輪反轉怎應對電路進行更改。
8. 最后進行整機連續運行,無異常即為完成調試工作,如有異常情況請及時與公司聯系。
固定式安裝:
1. 設備安裝位置,將安裝支架用鋼膨脹螺栓或焊接在支梁上;
2. 先將主機附屬裝配完整:將進氣管、擋板及調整機構與主機組裝(出廠前我公司已將電機、支架,支撐管、傳動軸、葉輪等部件組裝成主機,請勿再調節或拆卸)。
3. 將浮筒組建整體放入池內,準備主機安裝。
4. 整機與浮筒裝配:將裝配好的主機安裝固定在浮筒上,保證個部分完整、正確的同時也需要保證各件裝配牢固。安裝時應注意:應將主電纜和控制電纜布置妥當,同時加以固定。
5. 根據需求,啟用調整機構,調節主機的入水深度和工作角度。
6. 用選定纜繩按其安裝形式固定浮筒。
7. 正確安裝配置電氣控制部分。
8. 通電源,測試電氣性能,保證無誤下限點動運行,確定其旋轉方向是否符合要求(由葉輪向電機方向看葉輪為順時針運轉),如葉輪反轉怎應對電路進行更改。
設備的維護與保養:
1. 本設備應定期進行維護、保養,維護時必須關掉電源。
2. 應定期檢查電機的絕緣情況。
3. 本設備與池內等水體相連,因此必須可靠接地,以防人身和設備事故的發生。
4. 本設備使用到一年時間時,應做到全面檢修,更換軸承內的潤滑脂和油室內德機械密封潤滑油,以加長其使用壽命,軸承潤滑脂為耐高溫油脂,油室潤滑脂為32#機油。
5. 運行一年后對電機作絕緣檢查及驅潮處理,其結果需符合要求,且重新裝配后應保證整機的氣密性能。
6. 本機易損件主要為水下軸承,如用損壞,請及時更換。
7. 電機油室內軸承采用免維護油脂潤滑,請每半年注意維護加脂。
8. 如設備長期不用,應將其從水中提出,清理后妥善后妥善保管。
9. 更換水下軸承時,應使軸承完全就位,就位后,在套管(支撐管)下部(葉輪端),有兩潤滑脂,需重新銑孔(鉆孔),保證兩孔通光(孔徑與潤滑脂孔相同)。
注意事項:
1. 本機不宜在易燃、易爆場合使用,也不宜在強腐蝕介質中使用。
2. 電機的引出電纜必須保持嚴格密封,每次下水前都應該仔細檢查電纜有無破裂、折斷,電纜的入口密封是否完好,如發現可能漏電漏水,應及時處理。
3. 禁止將電纜作吊繩使用。
4. 防止纏繞物(如塑料袋、絲線等)進入池內損傷葉輪。
5. 檢查兩潤滑脂孔污堵塞。