立式超寬極距電收塵器在煤磨系統中的應用
1、概述
煤(mei)磨(mo)系(xi)統(tong)常指磨(mo)頭倉、球磨(mo)機(ji)、選粉裝置、磨(mo)尾排氣(qi)煙囪(cong)、下料口、提升(sheng)機(ji)、溜槽和窯頭儲(chu)煤(mei)倉等設備(bei)所組成的(de)(de)生(sheng)(sheng)產(chan)系(xi)統(tong)。由(you)于煤(mei)磨(mo)系(xi)統(tong)產(chan)生(sheng)(sheng)的(de)(de)粉塵易燃爆、顆粒(li)細、密度小、濃度高,以及易使收塵器產(chan)生(sheng)(sheng)結露等原因,給(gei)煤(mei)磨(mo)系(xi)統(tong)的(de)(de)粉塵治理工作帶來極(ji)大的(de)(de)困難。
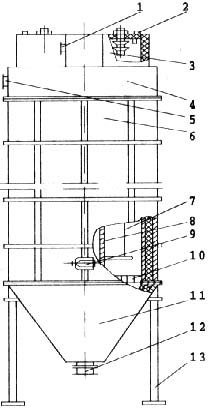
在總結(jie)前人經驗教訓的(de)基礎(chu)上,某所研制(zhi)出(chu)一種(zhong)“立式超寬(kuan)極距(ju)電收塵(chen)(chen)器(qi)”,其結(jie)構見圖1。用這種(zhong)電收塵(chen)(chen)器(qi)治理(li)煤磨系統的(de)粉塵(chen)(chen),已取得(de)初(chu)步成效。立式超寬(kuan)極距(ju)電收塵(chen)(chen)器(qi)集(ji)多(duo)種(zhong)除(chu)塵(chen)(chen)設備的(de)優點并有所發展,增(zeng)加(jia)了一些獨到之處。此設備在鞍鋼燈塔石(shi)灰石(shi)礦水泥(ni)分廠經過(guo)一年多(duo)實際應用,運行狀(zhuang)態良(liang)好。
![]() |
圖1 立式超寬極距電收塵器結構
1.進風口;2.煤氣分離排放裝置;3.絕緣子室;4.凈氣室;5.出風口;
6.電(dian)場;7.電(dian)暈極;8.中(zhong)心(xin)筒;9.檢查門(men);10.均流(liu)網(wang);11.底斗(dou);12.卸灰(hui)閥;13.支腿
2、特點
2.1 絕緣性能好
通(tong)常,靜電(dian)(dian)(dian)電(dian)(dian)(dian)源(yuan)的供電(dian)(dian)(dian)電(dian)(dian)(dian)壓(ya)(ya)在(zai)120kV以下(xia),與立式超(chao)寬極距(ju)電(dian)(dian)(dian)收塵器配套的必(bi)須(xu)是(shi)超(chao)高(gao)壓(ya)(ya)靜電(dian)(dian)(dian)電(dian)(dian)(dian)源(yuan),其供電(dian)(dian)(dian)電(dian)(dian)(dian)壓(ya)(ya)在(zai)140~200kV左右。這樣高(gao)的供電(dian)(dian)(dian)電(dian)(dian)(dian)壓(ya)(ya)給絕緣技術帶來了極大(da)的困難。多年實踐證(zheng)明(ming),本設備電(dian)(dian)(dian)源(yuan)無論(lun)是(shi)絕緣子、超(chao)高(gao)壓(ya)(ya)發生(sheng)(sheng)器或者在(zai)它們之間(jian)連(lian)接的超(chao)高(gao)壓(ya)(ya)電(dian)(dian)(dian)纜,都沒發生(sheng)(sheng)過擊穿(chuan)或結露(lu)爬電(dian)(dian)(dian)現象。由我(wo)所自行生(sheng)(sheng)產的CGJO2—T型(xing)超(chao)高(gao)壓(ya)(ya)靜電(dian)(dian)(dian)電(dian)(dian)(dian)源(yuan)可分為控(kong)制柜和超(chao)高(gao)壓(ya)(ya)發生(sheng)(sheng)器兩部分。控(kong)制柜為強電(dian)(dian)(dian)控(kong)制型(xing),超(chao)高(gao)壓(ya)(ya)發生(sheng)(sheng)器體積小,功(gong)率大(da)。兩者匹配得當,因而(er)工作(zuo)穩定,安全耐(nai)用。
2.2 凈化效率高
立式超(chao)寬極距電(dian)收塵(chen)器已成系列(lie),用于煤(mei)磨系統,應選用DLKM型系列(lie)。該系列(lie)的凈化效率可達(da)99.95%以(yi)(yi)上。假設廢(fei)氣中含塵(chen)濃度在(zai)100g/Nm3以(yi)(yi)下(xia)(一(yi)般在(zai)30g/Nm3以(yi)(yi)下(xia)),用一(yi)臺該電(dian)收塵(chen)器即可達(da)到50mg/Nm3以(yi)(yi)下(xia)的治理煤(mei)粉(fen)塵(chen)所(suo)要求的排放濃度。
2.3 抗燃、爆(bao)性能(neng)好
DLKM型(xing)立式超寬(kuan)極距電(dian)(dian)(dian)收(shou)塵(chen)(chen)(chen)(chen)(chen)(chen)器(qi)(qi)(qi)具有(you)抗(kang)燃(ran)(ran)燒和(he)抗(kang)爆炸(zha)(zha)(zha)的(de)(de)性(xing)(xing)能。從材料上看,電(dian)(dian)(dian)收(shou)塵(chen)(chen)(chen)(chen)(chen)(chen)器(qi)(qi)(qi)所用的(de)(de)鋼鐵材料抗(kang)燃(ran)(ran)燒的(de)(de)性(xing)(xing)能優于(yu)袋式除塵(chen)(chen)(chen)(chen)(chen)(chen)器(qi)(qi)(qi)所用的(de)(de)材料;從結構上看,立式電(dian)(dian)(dian)收(shou)塵(chen)(chen)(chen)(chen)(chen)(chen)器(qi)(qi)(qi)的(de)(de)抗(kang)爆炸(zha)(zha)(zha)性(xing)(xing)能優于(yu)臥式電(dian)(dian)(dian)收(shou)塵(chen)(chen)(chen)(chen)(chen)(chen)器(qi)(qi)(qi)。在實驗中,當發(fa)生爆炸(zha)(zha)(zha)時,立式超寬(kuan)極距電(dian)(dian)(dian)收(shou)塵(chen)(chen)(chen)(chen)(chen)(chen)的(de)(de)泄壓裝(zhuang)置立即開啟,收(shou)塵(chen)(chen)(chen)(chen)(chen)(chen)系統(tong)及電(dian)(dian)(dian)收(shou)塵(chen)(chen)(chen)(chen)(chen)(chen)器(qi)(qi)(qi)本(ben)體(ti)無任何損壞。收(shou)塵(chen)(chen)(chen)(chen)(chen)(chen)器(qi)(qi)(qi)中收(shou)集到的(de)(de)煤(mei)塵(chen)(chen)(chen)(chen)(chen)(chen)自上向下落(luo)入灰斗(dou),并開始燃(ran)(ran)燒。如果灰斗(dou)內(nei)存有(you)一半容積(最大量)的(de)(de)煤(mei)粉,可(ke)燃(ran)(ran)燒6h。燃(ran)(ran)燒過后(hou),電(dian)(dian)(dian)收(shou)塵(chen)(chen)(chen)(chen)(chen)(chen)器(qi)(qi)(qi)本(ben)體(ti)未見變形。把燃(ran)(ran)燒后(hou)余物從卸灰閥處(chu)放出,對收(shou)塵(chen)(chen)(chen)(chen)(chen)(chen)系統(tong)稍微整理,把泄壓閥復原,這(zhe)樣,這(zhe)個電(dian)(dian)(dian)收(shou)塵(chen)(chen)(chen)(chen)(chen)(chen)系統(tong)即可(ke)繼續(xu)投(tou)入運行(xing)。
2.4 隔斷技術的采用
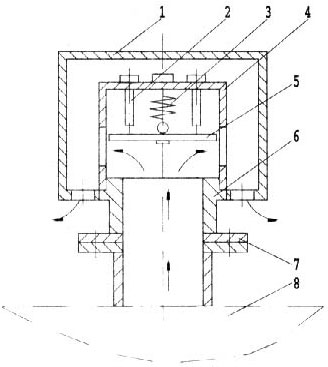
我們在工程設計上采用了自動隔斷技術,所謂“隔斷”,即在兩者之間不直接用管道連接,而是通過隔斷裝置連接。隔斷裝置是一段特制的管道,這段管道能夠在總體管道內壓力突然變化時,自動與其它管道分離,斷開管道之間的連接,從而實現生產系統與電收塵系統相分離的目的,它配有一套控制機構,其結構原理見圖2。
![]() |
圖2 隔斷裝置示意圖
1.生產系(xi)統(tong)煙(yan)塵管(guan)(guan)(guan)道;2.滑(hua)輪;3.滑(hua)輪架;4.隔斷(duan)管(guan)(guan)(guan);5.配重(zhong)體;6.收塵系(xi)統(tong)主管(guan)(guan)(guan)道
當電收(shou)(shou)塵(chen)(chen)系(xi)(xi)(xi)(xi)統與生(sheng)(sheng)(sheng)產系(xi)(xi)(xi)(xi)統正(zheng)常(chang)工作時(shi),隔(ge)(ge)斷(duan)(duan)管4處于負壓(ya)(ya)或常(chang)壓(ya)(ya)狀態(tai),隔(ge)(ge)斷(duan)(duan)管4保持(chi)兩個系(xi)(xi)(xi)(xi)統連通;當收(shou)(shou)塵(chen)(chen)系(xi)(xi)(xi)(xi)統或者生(sheng)(sheng)(sheng)產系(xi)(xi)(xi)(xi)統發(fa)生(sheng)(sheng)(sheng)爆炸時(shi),隔(ge)(ge)斷(duan)(duan)管4處于正(zheng)壓(ya)(ya)狀態(tai),受正(zheng)壓(ya)(ya)脈沖觸發(fa),被配重體5牽引(yin),隔(ge)(ge)斷(duan)(duan)管4上升自動斷(duan)(duan)開收(shou)(shou)塵(chen)(chen)系(xi)(xi)(xi)(xi)統主(zhu)管道(dao)與生(sheng)(sheng)(sheng)產系(xi)(xi)(xi)(xi)統主(zhu)管道(dao)的(de)連通,因而達到了發(fa)生(sheng)(sheng)(sheng)爆炸時(shi)兩個系(xi)(xi)(xi)(xi)統互不影響(xiang)的(de)目的(de)。
我們分(fen)析了國內許多(duo)爆(bao)(bao)炸的實例,得出一點規律。這些(xie)爆(bao)(bao)炸多(duo)發生(sheng)在生(sheng)產設備停機(ji)后,再開機(ji)生(sheng)產的時候。分(fen)析其(qi)原因如下:
(1)在收塵系統中有積累可燃性氣體的結構,因這種氣體引爆;
(2)在系統中有可存積煤粉塵的結構;
(3)長期存積的煤粉在通風不好的情況下發生自燃,并產生大量煤氣,因這種自燃而引爆;
(4)絕緣子爬電時,引燃積在它上面的煤粉,產生可燃性氣體和高溫火星,在煤粉中形成高溫熱核,或達到點火溫度而引爆;
(5)生產系統(tong)帶入火種而引爆。
針對上述(shu)原因(yin)采取的技術對策是:
(1)消除收塵系統中任何可長期存積煤粉的結構;
(2)電收塵器要具有超高的凈化效率,確保絕緣子上面不積煤塵,絕緣子不爬電;
(3)嚴格執行先開靜電電源,后開風機收塵這個程序及煤磨停機后再開15min風機的要求;
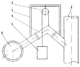
(4)我們研制了一種煤氣分離排放裝置(見圖3)。它是根據煤氣比空氣輕的道理來設計的。煤氣容易存積在上部密閉的容器內(如盛氣瓶的瓶口朝下),煤氣分離排放裝置設置在立式超寬極距電收塵器的上部,在那些有可能存積煤氣的結構的頂部,起到分離煤氣的作用。下體6與電收塵系統8相通,當收塵系統產生負壓時,閥片5受引力而克服彈簧的拉力下降,閥片與下體6嚙合,防止漏風。當收塵系統負壓消失時,閥片5復位,如果電收塵系統內有煤氣存在,則煤氣可由箭頭所指路線,排出到空氣中。
![]() |
圖3 煤氣分離排放裝置示意圖
1.帽;2.定位螺(luo)釘(ding);3.彈簧;4.上體(ti);5.閥片;6.下體(ti);7.法蘭(lan);8.電(dian)收塵系統
(5)每次煤磨起動時,確(que)保電收(shou)塵器內收(shou)集到的煤粉塵被立即干凈徹底地排出到電收(shou)塵系統(tong)以外。要(yao)防止(zhi)燃燒和爆炸,在技術上要(yao)求(qiu)有(you)可靠的措施,并且(qie)便(bian)于實施;在管理(li)與(yu)使用(yong)上要(yao)求(qiu)有(you)嚴格(ge)明確(que)的規(gui)章(zhang)制度(du),并且(qie)要(yao)認真執(zhi)行。要(yao)求(qiu)設經過培訓的人(ren)員專人(ren)負責,用(yong)好(hao)、管好(hao)、維護好(hao)除塵設備。
3、設備運行情況及效益
安(an)裝(zhuang)于鞍(an)鋼燈塔石灰(hui)石礦水泥分(fen)廠的(de)用于煤(mei)磨除塵的(de)立(li)式超寬極(ji)距電收塵器如圖4所(suo)示。這(zhe)套電收塵設備安(an)全(quan)運行(xing)一(yi)年多,用戶(hu)反映較(jiao)好(hao)。
3.1 技術參數
煤磨規格:Φ1.5m×4.5m,開路生產,鋼球磨;臺時產量:4~5t/h每班開機4h左右,間斷性生產;煤種:山西大同煤,Var:33.46%,Aar:17.16%;
電收塵型號:DLKM—4.5;
有效斷面積:4.5m2;
電場風速:0.53m/s;
電極中心距:900mm;
電場高度:6m;
處理風量:12500m3/h;
配套靜電電源:CGJO2—T型超高壓靜電電源;
規格:180kV/20mA。
![]() |
圖4 煤磨系統電收塵工藝示意圖
1.煤磨煙(yan)囪;2.煤磨;3.溜槽(cao);4.引風管道;5.提(ti)升(sheng)機(ji);6.隔斷(duan)裝(zhuang)置(zhi);7.煤氣分離排放裝(zhuang)置(zhi);8.貯煤倉;9.螺(luo)旋輸送機(ji);10.卸灰閥;11.風機(ji);12.控(kong)制柜;13.超(chao)(chao)高(gao)壓發生器(qi);14.超(chao)(chao)高(gao)壓電(dian)(dian)纜;15.立式超(chao)(chao)寬極(ji)距電(dian)(dian)收塵器(qi);16.貯煤倉煙(yan)囪;17.電(dian)(dian)收塵器(qi)煙(yan)囪;18.抗爆閥
3.2 收塵(chen)效(xiao)果
經(jing)遼陽市環境保護(hu)監測(ce)站測(ce)試,電收塵器收塵效果見表(biao)。
電收塵器收塵效果
![]() |
由表可知,電收(shou)塵(chen)器入口(kou)的干(gan)燥煙氣中含(han)粉(fen)塵(chen)濃度為72g/Nm3左右,比普通除塵(chen)設備35g/Nm3的能力高出一倍多。出口(kou)粉(fen)塵(chen)濃度為28.1mg/Nm3,每小時可回收(shou)688kg優質煤粉(fen)。

使用微信“掃一掃”功能添加“谷騰環保網”