普通除塵器用于高溫除塵的改進方法
某廠有一條機立窯水(shui)泥生產線,因工藝(yi)布置造成鎖風料柱較短,跑風引起(qi)了熟(shu)料出口處(chu)揚(yang)塵(chen)較大。為此,決定在熟(shu)料出口處(chu)加(jia)裝(zhuang)1臺STD-5型(xing)單機袋式除塵(chen)器,開始使(shi)用時狀(zhuang)況較差,改進后才收到較好(hao)的使(shi)用效果。現介紹如下(xia):
1 技術狀況
1.1 STD-5型袋(dai)式除塵器技術參數
1)處理風量:5450m3/h;
2)過濾(lv)面(mian)積(ji):74.30m2,32只滌綸纖維濾(lv)袋;
3)使用溫(wen)度:<120℃;
4)入口氣體(ti)允許(xu)含(han)塵濃度:≤100g/m3。
1.2 實際(ji)工況(kuang)條件
1)粉塵粒度:<0.08mm的(de)占46%,>0.08mm的(de)占54%;
2)氣體溫(wen)度:<120℃,高(gao)溫(wen)季節在120~160℃,出(chu)紅料時高(gao)達300℃左右;
3)氣(qi)體量:700~1200m3/h之間(jian);
4)氣體含塵濃度(du):正常時在90g/m3左右,有(you)時高達150g/m3以(yi)上(shang)。
1.3 改進(jin)前工(gong)藝設(she)計
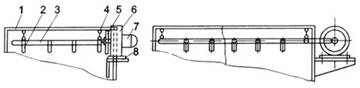
在電振機(ji)卸料管和(he)顎式破碎機(ji)之間(jian)裝1個可拆卸的(de)密封罩殼,用Φ300mm的(de)鐵皮管與STD-5除塵器進風口法蘭盤(pan)聯(lian)接,再用相同直徑的(de)鐵皮管一(yi)端與STD-5除塵器卸料分格輪法蘭聯(lian)接,另一(yi)端送(song)向輸送(song)熟料的(de)鏈(lian)斗機(ji)。工(gong)藝設計示意見圖1。
2 使用時存在問題及分析
2.1 溫度過高導致濾(lv)袋使(shi)用(yong)壽命縮短
從工藝條件(jian)看,氣體溫度一般(ban)不超(chao)過除塵器(qi)的允許(xu)使(shi)用(yong)溫度。但在實(shi)際工作過程中,有時會(hui)出現(xian)短(duan)時高溫(200℃以(yi)上),使(shi)滌綸濾(lv)袋老化(hua)收縮(suo)變(bian)形(xing)變(bian)脆,在清(qing)灰擺動(dong)所產生的力(li)作用(yong)下(xia),新濾(lv)袋使(shi)用(yong)6d左右,下(xia)口50~150mm范圍(wei)內便出現(xian)收縮(suo)破裂現(xian)象,導致嚴(yan)重冒灰。
![]() 圖1 改進前除塵器工藝布置 |
2.2 清灰效果不佳
搖擺(bai)式(shi)清(qing)灰機構當擺(bai)幅大時(shi),雖然清(qing)灰效(xiao)果較(jiao)(jiao)好,但濾袋(dai)下口受力(li)較(jiao)(jiao)大,破(po)損(sun)加(jia)速。擺(bai)幅適(shi)宜時(shi),清(qing)灰效(xiao)果較(jiao)(jiao)差,濾袋(dai)內表面(mian)吸附粉塵難以振掉,導致濾袋(dai)透氣(qi)阻力(li)增(zeng)加(jia),使(shi)除(chu)塵器處理(li)風量的能力(li)明顯下降。如增(zeng)加(jia)清(qing)灰的頻(pin)率,則除(chu)塵主風機經常停運,又導致除(chu)塵器投運率下降。
2.3 電氣故障(zhang)頻繁(fan)
除(chu)塵(chen)器清(qing)灰(hui)是在除(chu)塵(chen)風(feng)機停止運行后,清(qing)灰(hui)電(dian)機啟動(dong)運行。由于擺動(dong)式的(de)(de)清(qing)灰(hui)效果較差,兩(liang)臺電(dian)機頻繁啟動(dong),6倍(bei)左(zuo)右(you)的(de)(de)啟動(dong)電(dian)流沖擊(ji)控制電(dian)路的(de)(de)各個觸點,電(dian)氣故障增多。
2.4 卸料(liao)錐體周邊積料(liao)
卸料錐(zhui)體(ti)周邊積(ji)料,一是因(yin)為錐(zhui)角較大,二(er)是因(yin)為低溫(wen)季節除塵器(qi)內外溫(wen)差(cha)較大,氣體(ti)結露所致。
3 改進方法
3.1 改進后工藝設計(ji)
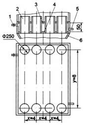
為減少袋除塵負荷,在原方案基礎上,增設1臺Φ650mm規格的旋風除塵器,安裝在除塵器進風管道上,原風機不改動。又在聯接袋除塵器與旋風除塵器的管道之間,增設二次進風調節裝置。旋風除塵器收下的粉塵用管道送往熟料鏈斗機。改進后工藝布置見圖2。
![]() 圖2 改進后除塵器工藝布置 |
3.2 二次風調節裝(zhuang)置
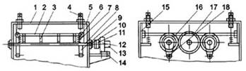
二次風調節裝置主要由Φ130mm的鋼管和蝶閥組成,在鋼管上按Φ18mm、Φ20mm、Φ22mm、Φ24mm、Φ24mm、Φ22mm、Φ20mm、Φ18mm的順序排列布置鉆孔,徑向6等分均布,軸向300mm范圍8排均布,目的是將二次風均布在含塵熱氣體之中,中和氣體溫度,避免滌綸濾袋受熱溫度過高。鋼管鉆孔端用鐵板密封,在進風端裝一蝶閥,控制二次風量。二次進風管鉆孔端安裝在旋風除塵器與袋式除塵器之間的進風管道中,水平放置,便于人工調節蝶閥。二次風調節裝置結構見圖3。
![]() 圖3 二次風調節裝置 |
3.3 冷卻(que)水控制(zhi)系統
按照原除塵器多孔布風板的尺寸,加工1塊相同尺寸的多孔布風板,解體成4塊,由除塵器檢修門進入布風管,與原多孔布風板相距50mm水平就位,密封焊接,形成1個長方體水箱。在箱體對面兩側各焊1個Φ25mm的水管頭,并在出水端安裝1只閘閥,形成冷卻水系統。利用水冷卻控制多孔布風板的溫度,結構見圖4。
![]() 圖4 冷卻水控制系統結構 |
3.4 減(jian)小集料(liao)錐(zhui)角度(du)
除塵器天方地圓的集料錐角度原(yuan)為68°,現改成(cheng)40°30′,保證無積料。
3.5 增設雙層保溫層
在除(chu)塵(chen)器體的(de)四周,用(yong)30mm×30mm的(de)角鐵,距母體100mm焊(han)接成框架(jia),再用(yong)1mm的(de)鐵皮與框架(jia)用(yong)螺絲(si)聯接成密(mi)封室(shi),又在密(mi)封室(shi)的(de)四周焊(han)上(shang)V型(xing)筋點,涂上(shang)水泥、黃砂和(he)(he)(he)麻絲(si)比例為1∶2∶10的(de)漿膏,這樣構成空隙和(he)(he)(he)漿膏雙(shuang)層(ceng)保溫(wen)層(ceng),提高保溫(wen)效果。還(huan)在集料(liao)(liao)錐和(he)(he)(he)除(chu)塵(chen)器室(shi)兩處加制作(zuo)一(yi)副保溫(wen)門(men),以便更換濾袋和(he)(he)(he)卸料(liao)(liao)分格輪或其它方面(mian)檢修(xiu)維護。
3.6 清灰(hui)機構的改進
將原搖擺式的清灰機構改造成振打式。方法是:把原濾袋吊架4個活動絞鏈聯接改造成垂直滑動的彈性聯接,減速機偏心盤擺動裝置改造成靠邊輪傳動軸凸輪裝置,由原一側裝配改成中心裝配,并在濾袋吊架4個角各配1只慣性錘和振幅限位可調絲桿。改進前后結構見示意圖5、圖6。
圖5 改進前擺動清灰機構 |
![]() 圖6 改進后的振動清灰機構 |
工(gong)作時,濾袋(dai)吊架作垂直上(shang)下往復(fu)運動(dong),并不斷碰撞限位絲桿,形成振(zhen)(zhen)打動(dong)力,清理濾袋(dai)內表面吸附的(de)粉塵(chen)。這(zhe)樣(yang)改變了濾袋(dai)的(de)受力狀態,減少外力破壞環節。一般振(zhen)(zhen)幅上(shang)限控制(zhi)在15mm左右為宜(yi)。
3.7 控制(zhi)電路的(de)調整(zheng)
將(jiang)風(feng)機(ji)(ji)電(dian)機(ji)(ji)與(yu)振打(da)電(dian)機(ji)(ji)的(de)控(kong)(kong)制電(dian)路(lu)分開,風(feng)機(ji)(ji)電(dian)機(ji)(ji)不再受時(shi)間(jian)繼電(dian)器的(de)控(kong)(kong)制,實現(xian)連續運轉。用(yong)2個(ge)時(shi)間(jian)繼電(dian)器控(kong)(kong)制振打(da)電(dian)機(ji)(ji),1個(ge)用(yong)于啟動間(jian)隔時(shi)間(jian)的(de)控(kong)(kong)制;另1個(ge)用(yong)于振打(da)運行(xing)時(shi)間(jian)的(de)控(kong)(kong)制。由于增設了旋風(feng)除塵器,原除塵器的(de)除塵負荷下降(jiang),啟動間(jian)隔時(shi)間(jian)設定(ding)在20min,比原設定(ding)擴大(da)2倍。振打(da)時(shi)間(jian)設定(ding)在2min,比原設定(ding)縮小(xiao)1倍,同時(shi)將(jiang)5A的(de)主接觸器更換成10A的(de)(振打(da)電(dian)機(ji)(ji)功率(lv)為1.5kW),這樣提高(gao)抗啟動大(da)電(dian)流(liu)沖擊的(de)能力,減少電(dian)氣故障的(de)出現(xian)。
4 使用注意的問題
1)控制升溫用的(de)冷卻(que)水(shui)量要根據氣候(hou)加以調節,冬(dong)季的(de)河水(shui)溫度較低,這時(shi)與除(chu)(chu)塵(chen)器體內的(de)溫度形成較大的(de)反差,容(rong)易(yi)使(shi)冷卻(que)水(shui)箱上下兩(liang)面(mian)形成結(jie)露(lu)而積料,導致進風管堵塞,影響除(chu)(chu)塵(chen)效果(guo)。一般流出的(de)水(shui)溫控制在10~20℃之間較好。
2)二(er)(er)次(ci)(ci)(ci)進(jin)風(feng)量(liang)(liang)也(ye)要(yao)根據情況合理控制。當窯情正(zheng)常,含(han)塵氣體的溫度<120℃時,二(er)(er)次(ci)(ci)(ci)進(jin)風(feng)量(liang)(liang)可適當調小些;當窯情不(bu)正(zheng)常,含(han)塵氣體的溫度>120℃時,二(er)(er)次(ci)(ci)(ci)進(jin)風(feng)量(liang)(liang)可適當調大(da)些,使濾(lv)(lv)袋(dai)(dai)處(chu)于某(mou)一(yi)個溫度范圍內(nei)工作,這樣(yang)濾(lv)(lv)袋(dai)(dai)的收(shou)縮與(yu)膨脹(zhang)也(ye)穩(wen)定在(zai)(zai)一(yi)定的范圍內(nei),以穩(wen)定濾(lv)(lv)袋(dai)(dai)的過濾(lv)(lv)性能(neng)。二(er)(er)次(ci)(ci)(ci)進(jin)風(feng)量(liang)(liang)的大(da)小,以出(chu)料口(kou)密封罩(zhao)處(chu)有(you)負壓現象為宜。如較長的陰雨天氣,空(kong)氣中(zhong)濕度較大(da),二(er)(er)次(ci)(ci)(ci)進(jin)風(feng)量(liang)(liang)亦要(yao)適當調小些,防(fang)止水分在(zai)(zai)濾(lv)(lv)袋(dai)(dai)中(zhong)積(ji)聚而導致粉塵粘糊,影響除塵器(qi)處(chu)理風(feng)量(liang)(liang)。
3)濾袋(dai)(dai)吊掛時(shi),避免出現有(you)長有(you)短的現象,超長的濾袋(dai)(dai)下口彎曲(qu)過大,容易(yi)在(zai)布風(feng)管處積料。過短的濾袋(dai)(dai)振打清灰的受(shou)力較大,容易(yi)損壞,同時(shi)也影(ying)響振打清灰的效果。
5 使用效果
STD-5除塵(chen)器(qi)通過上述(shu)方法改進后,幾年的(de)運(yun)行狀(zhuang)態一直良好。故障(zhang)消除了,運(yun)行投運(yun)率達(da)100%,濾(lv)袋(dai)使用壽命達(da)到1年左右,除塵(chen)器(qi)粉(fen)塵(chen)排(pai)放經市環(huan)保局測定符合(he)國家環(huan)保標準(zhun);年可收回1千余(yu)噸的(de)熟料(liao)粉(fen)塵(chen),效(xiao)益(yi)亦可觀。

使用微信“掃一掃”功能添加“谷騰環保網”