雙層濾料顆粒床高溫除塵技術及其在冶金爐窯中的應用
摘要:雙層濾料(liao)(liao)顆粒床(chuang)高(gao)溫除塵技術采用(yong)粗(cu)細兩層濾料(liao)(liao),集(ji)粗(cu)精兩級過濾于一體,解(jie)決了顆粒床(chuang)過濾效(xiao)率(lv)低(di)的(de)問題。小試和工(gong)業試驗表(biao)明:除塵效(xiao)率(lv)> 99199 % ,床(chuang)層壓降< 1600Pa ,耐高(gao)溫,運行可(ke)靠(kao)(kao),投資、維護(hu)和運行費用(yong)低(di),是目前最可(ke)靠(kao)(kao)實用(yong)的(de)高(gao)溫除塵技術,可(ke)廣泛應用(yong)于能(neng)源、冶金、化工(gong)、材(cai)料(liao)(liao)、焚燒等爐窯的(de)煙(yan)氣除塵,有顯著的(de)節(jie)能(neng)減排(pai)、節(jie)水節(jie)資效(xiao)益,應用(yong)前景廣闊。
關鍵詞:高溫除塵,過濾,顆粒床
0 引言
冶金、化工(gong)、建材、能源等領域的爐窯(yao)余(yu)熱(re)(re)利(li)(li)(li)(li)用(yong)(yong)潛力很大(da)。但在工(gong)業爐窯(yao)余(yu)熱(re)(re)利(li)(li)(li)(li)用(yong)(yong)中(zhong)遇到了(le)一個共性問題———高(gao)溫(wen)(wen)(wen)(wen)除(chu)塵(chen)問題。特別(bie)是(shi)冶煉爐窯(yao)排(pai)氣溫(wen)(wen)(wen)(wen)度波動很大(da), 如高(gao)爐煤氣有時低于50 ℃, 有時高(gao)于 600 ℃,這類(lei)情況若采用(yong)(yong)濕法(fa)除(chu)塵(chen),余(yu)熱(re)(re)不能利(li)(li)(li)(li)用(yong)(yong),且(qie)耗(hao)水大(da),污水處理(li)復雜;若采用(yong)(yong)干(gan)法(fa)布袋除(chu)塵(chen),因其耐溫(wen)(wen)(wen)(wen)低,需(xu)要復雜的溫(wen)(wen)(wen)(wen)控調節(jie)設(she)(she)備(bei)(換熱(re)(re)設(she)(she)備(bei)、噴水設(she)(she)備(bei)、自動控制系(xi)統等) ,余(yu)熱(re)(re)利(li)(li)(li)(li)用(yong)(yong)率低,流(liu)程(cheng)長,設(she)(she)備(bei)多。因此,冶煉爐窯(yao)煙氣凈(jing)化非常(chang)需(xu)要耐高(gao)溫(wen)(wen)(wen)(wen)的除(chu)塵(chen)設(she)(she)備(bei)。冶煉爐窯(yao)應用(yong)(yong)高(gao)溫(wen)(wen)(wen)(wen)除(chu)塵(chen)設(she)(she)備(bei)不僅可提高(gao)余(yu)熱(re)(re)利(li)(li)(li)(li)用(yong)(yong)率,還可省去復雜的溫(wen)(wen)(wen)(wen)控調節(jie)設(she)(she)備(bei),簡化系(xi)統,降(jiang)低投資、運行(xing)和維護費用(yong)(yong),有顯著的節(jie)能、節(jie)水、節(jie)資和減(jian)排(pai)效果。
近(jin)十多年(nian)來,高溫除(chu)塵技(ji)(ji)術(shu)因(yin)整體煤氣化聯(lian)合(he)循環( IGCC) 、煤氣化多聯(lian)產等(deng)先進能(neng)(neng)(neng)源(yuan)系統的(de)共(gong)同需要,被(bei)世界(jie)公認為是先進能(neng)(neng)(neng)源(yuan)系統的(de)共(gong)性(xing)核心(xin)技(ji)(ji)術(shu), 得到了空前(qian)的(de)科技(ji)(ji)推(tui)動和發展。特別是近(jin)年(nian)因(yin)各行業對節能(neng)(neng)(neng)減(jian)排(pai)工(gong)作(zuo)的(de)空前(qian)重視,高溫除(chu)塵技(ji)(ji)術(shu)更被(bei)認為是能(neng)(neng)(neng)源(yuan)、冶金、化工(gong)、材(cai)料、焚燒等(deng)整個工(gong)業爐(lu)窯(yao)余熱利用(yong)領域(yu)中的(de)共(gong)性(xing)核心(xin)技(ji)(ji)術(shu)。
剛性陶瓷(ci)管(guan)(guan)(guan)過(guo)(guo)濾(lv)和顆粒(li)層過(guo)(guo)濾(lv)被(bei)認(ren)為是最有(you)前(qian)途的(de)(de)兩種高(gao)溫除(chu)塵技術。國際上研究最多的(de)(de)是剛性陶瓷(ci)管(guan)(guan)(guan)過(guo)(guo)濾(lv),從材質、結構、失效保護(hu)(fail safety) 等方面(mian)都有(you)很大進展,已有(you)一些(xie)在(zai)先(xian)進能(neng)源系(xi)統(tong)中的(de)(de)應(ying)用(yong)(yong)示(shi)范,但還(huan)存在(zai)一些(xie)問題需要解決,如管(guan)(guan)(guan)間根部積塵搭橋(bridging) 導致管(guan)(guan)(guan)裂;灰殼包管(guan)(guan)(guan),清灰失效等問題,另外,陶瓷(ci)管(guan)(guan)(guan)過(guo)(guo)濾(lv)系(xi)統(tong)價格昂貴(gui),用(yong)(yong)于工業(ye)爐(lu)窯(yao)余熱利用(yong)(yong),用(yong)(yong)戶難(nan)接受。
顆(ke)粒(li)(li)層(ceng)(ceng)過(guo)(guo)濾是(shi)(shi)利用(yong)耐(nai)高溫的(de)固(gu)體顆(ke)粒(li)(li)(石英(ying)砂等) 形(xing)成過(guo)(guo)濾層(ceng)(ceng)來(lai)過(guo)(guo)濾粉塵。顆(ke)粒(li)(li)層(ceng)(ceng)過(guo)(guo)濾器(qi)的(de)突出優(you)點是(shi)(shi)耐(nai)高溫、耐(nai)腐蝕、對煙(yan)氣成分(fen)不敏感(gan),投資和維護(hu)費用(yong)低(di)。在(zai)國(guo)(guo)際上(shang)曾有多種類型的(de)顆(ke)粒(li)(li)層(ceng)(ceng)過(guo)(guo)濾設備在(zai)工業窯爐中(zhong)應(ying)用(yong),如旋風(feng)- 耙式(shi)顆(ke)粒(li)(li)層(ceng)(ceng)過(guo)(guo)濾器(qi)、沸騰式(shi)顆(ke)粒(li)(li)層(ceng)(ceng)過(guo)(guo)濾器(qi)在(zai)水泥窯、鍋(guo)爐、燒(shao)結機(ji)、沖天爐上(shang)的(de)應(ying)用(yong)等。近(jin)十多年來(lai),美國(guo)(guo)、印度、中(zhong)國(guo)(guo)、中(zhong)國(guo)(guo)臺灣等研究(jiu)較多的(de)是(shi)(shi)顆(ke)粒(li)(li)層(ceng)(ceng)移動床(chuang)過(guo)(guo)濾技術。
現有顆粒(li)層過(guo)(guo)(guo)(guo)濾技術(shu)的(de)(de)不(bu)足是過(guo)(guo)(guo)(guo)濾效(xiao)率低于(yu)剛(gang)性(xing)陶瓷管過(guo)(guo)(guo)(guo)濾,主要原因是所采用的(de)(de)濾料(liao)粒(li)徑(jing)都是大于(yu)1 mm ,濾料(liao)粒(li)徑(jing)不(bu)能進(jin)一步減(jian)小,過(guo)(guo)(guo)(guo)濾效(xiao)率也就無法進(jin)一步提高。對于(yu)固定床(chuang),濾料(liao)粒(li)徑(jing)減(jian)小,過(guo)(guo)(guo)(guo)濾效(xiao)率會提高,但壓(ya)降增(zeng)大,且(qie)清灰周期短,實用性(xing)差(cha)。而對于(yu)移動床(chuang),濾料(liao)粒(li)徑(jing)減(jian)小,料(liao)層移動速度加快,將(jiang)造成捕集的(de)(de)粉(fen)塵二次揚起,反(fan)而降低過(guo)(guo)(guo)(guo)濾效(xiao)率。因此, 顆粒(li)層過(guo)(guo)(guo)(guo)濾技術(shu)的(de)(de)發展方向是提高過(guo)(guo)(guo)(guo)濾效(xiao)率。
本(ben)文介紹一種顆粒層過(guo)濾新技術,該技術很好地解決了顆粒層過(guo)濾效率低(di)的問題,過(guo)濾效率達到甚至(zhi)高于布袋和陶(tao)瓷管的過(guo)濾效率,且比(bi)布袋耐(nai)高溫,比(bi)陶(tao)瓷管更經(jing)濟可靠,因而在工業爐窯煙氣凈化和余熱利用中更具實用性和競爭力。
1 原理
現有顆粒層過(guo)濾器都(dou)是(shi)(shi)(shi)單一濾料層過(guo)濾,不是(shi)(shi)(shi)細(xi)就是(shi)(shi)(shi)粗,高過(guo)濾效(xiao)(xiao)率與(yu)低壓降不能兼得(de),在已有的國內外應(ying)用中,都(dou)是(shi)(shi)(shi)采(cai)用粒徑> 1 mm的粗濾料,有的甚(shen)至超過(guo)10 mm ,使顆粒層過(guo)濾只能是(shi)(shi)(shi)低效(xiao)(xiao)率過(guo)濾。
雙(shuang)層(ceng)(ceng)(ceng)(ceng)濾(lv)料(liao)(liao)(liao)顆粒床高溫除(chu)塵(chen)(chen)技術與現有技術不同的是(shi):采用(yong)粗細兩(liang)種濾(lv)料(liao)(liao)(liao),粗濾(lv)料(liao)(liao)(liao)層(ceng)(ceng)(ceng)(ceng)在上(shang)(shang),細濾(lv)料(liao)(liao)(liao)層(ceng)(ceng)(ceng)(ceng)在下(xia)。過(guo)(guo)濾(lv)時,含塵(chen)(chen)氣體自上(shang)(shang)而下(xia)先經(jing)過(guo)(guo)上(shang)(shang)層(ceng)(ceng)(ceng)(ceng)粗濾(lv)料(liao)(liao)(liao)過(guo)(guo)濾(lv),截(jie)留氣體中的絕大部分粉塵(chen)(chen),再經(jing)過(guo)(guo)下(xia)層(ceng)(ceng)(ceng)(ceng)細濾(lv)料(liao)(liao)(liao)過(guo)(guo)濾(lv),截(jie)獲漏過(guo)(guo)上(shang)(shang)層(ceng)(ceng)(ceng)(ceng)濾(lv)料(liao)(liao)(liao)層(ceng)(ceng)(ceng)(ceng)的微細粒子。粗細濾(lv)料(liao)(liao)(liao)結合(he),集(ji)粗精(jing)兩(liang)級過(guo)(guo)濾(lv)于(yu)一體,粗精(jing)兩(liang)級梯級過(guo)(guo)濾(lv),可同時獲得極高過(guo)(guo)濾(lv)效率和(he)低壓降。
兩種(zhong)濾(lv)料粒徑比和密度比匹配得當,反(fan)吹清(qing)灰時(shi),反(fan)吹氣(qi)自下而上(shang)通(tong)過濾(lv)層,兩層濾(lv)料共同流化而不相混,上(shang)層濾(lv)料始終浮(fu)于下層濾(lv)料之(zhi)上(shang),雙層結(jie)構不變,使雙層濾(lv)料床能(neng)夠周而復始持續高(gao)效地工作。
2 小試
雙層(ceng)濾(lv)(lv)料顆(ke)粒床(chuang)高(gao)(gao)溫(wen)除塵(chen)小試裝置(zhi)由羅茨風(feng)機、過(guo)濾(lv)(lv)器(qi)(qi)、液(ye)化氣燃燒器(qi)(qi)、給粉裝置(zhi)、管路(lu)和(he)流(liu)量(liang)、壓力(li)、溫(wen)度、粉塵(chen)濃度等測試儀器(qi)(qi)組成(cheng),如圖1 所示(shi)。過(guo)濾(lv)(lv)器(qi)(qi)、燃燒器(qi)(qi)、管路(lu)等由耐高(gao)(gao)溫(wen)的0Cr18Ni9Ti 不銹鋼(gang)材(cai)料制成(cheng)。為(wei)了方便觀察雙層(ceng)濾(lv)(lv)料層(ceng)的過(guo)濾(lv)(lv)過(guo)程和(he)反吹(chui)流(liu)化清灰行(xing)為(wei),過(guo)濾(lv)(lv)器(qi)(qi)設計成(cheng)了一(yi)段可更換(huan)的結(jie)構,常溫(wen)試驗時,更換(huan)為(wei)有機玻(bo)璃顆(ke)粒床(chuang),高(gao)(gao)溫(wen)試驗時更換(huan)為(wei)0Cr18Ni9Ti 不銹鋼(gang)顆(ke)粒床(chuang)。
![]() |
以(yi)海砂( 粒徑(jing)分(fen)別為0.5 ~ 0.8 mm、0.8 ~ 1.0 mm、1.5 ~ 2.0 mm) 或鑄造砂( 粒徑(jing)為0.8 ~ 1.0 mm) 為下層濾(lv)料,以(yi)膨(peng)脹珍珠(zhu)巖(粒徑(jing)分(fen)別為2~ 3 mm、3~5 mm) 為上層濾(lv)料,先后進行了濾(lv)料流化試(shi)(shi)驗(yan),單(dan)層濾(lv)料床和不同厚度和粒徑(jing)組合的雙層濾(lv)料床過濾(lv)試(shi)(shi)驗(yan),不同過濾(lv)氣速、氣溫等(deng)對過濾(lv)效率的影響試(shi)(shi)驗(yan),流化清灰試(shi)(shi)驗(yan)等(deng)。
流化試驗(yan)表明(ming),0.5~0.8 mm海(hai)砂或0.8~1.0 mm 海(hai)砂或0.5~0.8 mm鑄造砂與2~3 mm膨(peng)脹(zhang)珍(zhen)珠巖(yan)組成的(de)雙(shuang)層濾(lv)料床,在(zai)反(fan)吹流化時,均(jun)存在(zai)一個上(shang)下濾(lv)料層共同流化而不相(xiang)混的(de)氣速(su)范圍,即膨(peng)脹(zhang)珍(zhen)珠巖(yan)顆粒始終浮于砂層之上(shang),雙(shuang)層結構始終不變,證明(ming)了把密度相(xiang)差約20 倍的(de)砂和膨(peng)脹(zhang)珍(zhen)珠巖(yan)選配為上(shang)下層濾(lv)料是成功的(de),雙(shuang)層濾(lv)料層過濾(lv)的(de)新思路(lu)是可行的(de)。
常溫(wen)(wen)過濾(lv)(lv)試驗表明,以經(jing)球(qiu)磨(mo)機(ji)細(xi)磨(mo)后的(de)(de)電廠粉煤灰(hui)(90 %的(de)(de)顆粒(li)小(xiao)于(yu)(yu)2.26μm) 為(wei)粉塵樣時,厚度(du)為(wei) 45 mm、粒(li)徑為(wei)0.5~0.8 mm的(de)(de)單層(ceng)(ceng)(ceng)(ceng)海砂(sha)(sha)在0.25 mPs過濾(lv)(lv)氣速下的(de)(de)平均過濾(lv)(lv)效(xiao)(xiao)率(lv)(lv)為(wei)99.48 % ,而(er)在此砂(sha)(sha)層(ceng)(ceng)(ceng)(ceng)上加一層(ceng)(ceng)(ceng)(ceng)厚為(wei)200 mm粒(li)徑為(wei)2~3 mm的(de)(de)膨(peng)脹(zhang)珍(zhen)珠(zhu)巖(yan)層(ceng)(ceng)(ceng)(ceng), 在其(qi)他(ta)條件(jian)不變的(de)(de)情況(kuang)下過濾(lv)(lv)效(xiao)(xiao)率(lv)(lv)提(ti)高(gao)到99.991 % , 出口粉塵濃(nong)度(du)小(xiao)于(yu)(yu)1 mgPm3 , 且在相同(tong)床(chuang)層(ceng)(ceng)(ceng)(ceng)總(zong)壓降 (1 600 Pa) 下,床(chuang)層(ceng)(ceng)(ceng)(ceng)積灰(hui)量增大(da)(da)(da)為(wei)單層(ceng)(ceng)(ceng)(ceng)砂(sha)(sha)層(ceng)(ceng)(ceng)(ceng)的(de)(de)10 倍, 充分證明了雙層(ceng)(ceng)(ceng)(ceng)濾(lv)(lv)料(liao)床(chuang)梯級過濾(lv)(lv)的(de)(de)顯著作(zuo)(zuo)用,即膨(peng)脹(zhang)珍(zhen)珠(zhu)巖(yan)層(ceng)(ceng)(ceng)(ceng)捕獲了絕大(da)(da)(da)多數(大(da)(da)(da)于(yu)(yu)90 %) 粉塵, 起到了顯著提(ti)高(gao)床(chuang)層(ceng)(ceng)(ceng)(ceng)容塵量、保(bao)護砂(sha)(sha)層(ceng)(ceng)(ceng)(ceng)的(de)(de)作(zuo)(zuo)用,而(er)砂(sha)(sha)層(ceng)(ceng)(ceng)(ceng)起到了獲得(de)極(ji)高(gao)過濾(lv)(lv)效(xiao)(xiao)率(lv)(lv)的(de)(de)作(zuo)(zuo)用,兩(liang)者的(de)(de)共同(tong)作(zuo)(zuo)用,使雙層(ceng)(ceng)(ceng)(ceng)濾(lv)(lv)料(liao)床(chuang)獲得(de)了高(gao)效(xiao)(xiao)率(lv)(lv)和低壓降(或(huo)大(da)(da)(da)容塵量) 。高(gao)溫(wen)(wen)過濾(lv)(lv)試驗表明,以0.5~0.8 mm鑄造(zao)砂(sha)(sha)與 2~3 mm膨(peng)脹(zhang)珍(zhen)珠(zhu)巖(yan)為(wei)上下層(ceng)(ceng)(ceng)(ceng)濾(lv)(lv)料(liao),在常溫(wen)(wen)、150 ,250 , 350 ,450 ℃溫(wen)(wen)度(du)條件(jian)下,過濾(lv)(lv)效(xiao)(xiao)率(lv)(lv)均大(da)(da)(da)于(yu)(yu)99199 % ,且隨著溫(wen)(wen)度(du)提(ti)高(gao),過濾(lv)(lv)效(xiao)(xiao)率(lv)(lv)也略(lve)有提(ti)高(gao),這主要是由于(yu)(yu)溫(wen)(wen)度(du)升高(gao),氣體(ti)擴(kuo)散(san)系數增大(da)(da)(da),從而(er)強化(hua)了微(wei)細(xi)顆粒(li)過濾(lv)(lv)中(zhong)的(de)(de)擴(kuo)散(san)機(ji)理,提(ti)高(gao)了微(wei)細(xi)顆粒(li)的(de)(de)過濾(lv)(lv)效(xiao)(xiao)率(lv)(lv)。
3 工業試驗及工業應用
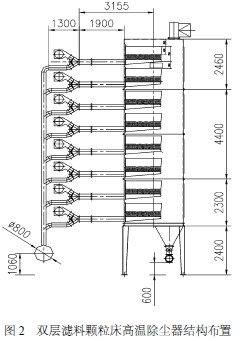
工(gong)業(ye)試驗是在(zai)江陰市(shi)海虹(hong)有色金屬材料(liao)(liao)有限(xian)公(gong)司的(de)2 ×13 t鋁(lv)合(he)金熔化(hua)爐的(de)煙(yan)(yan)氣(qi)消煙(yan)(yan)除塵(chen)上進(jin)行。這(zhe)兩臺鋁(lv)合(he)金熔化(hua)爐都是燃用重油,黑煙(yan)(yan)大又帶有黏(nian)性,且在(zai)熔煉過(guo)程不(bu)(bu)同階段(duan),煙(yan)(yan)氣(qi)溫(wen)度、煙(yan)(yan)氣(qi)流量變(bian)化(hua)很大,所以(yi)這(zhe)類(lei)熔化(hua)爐以(yi)往通常采用濕法(fa)(fa)(fa)除塵(chen)(眾所周(zhou)知該(gai)方法(fa)(fa)(fa)能耗(hao)大、占地(di)面(mian)積廣(guang)且無法(fa)(fa)(fa)利用排煙(yan)(yan)廢熱) ,不(bu)(bu)采用布(bu)(bu)袋(dai)除塵(chen)器(qi)等干法(fa)(fa)(fa)除塵(chen)(因為(wei)采用布(bu)(bu)袋(dai)除塵(chen)器(qi)不(bu)(bu)僅需要(yao)復雜(za)的(de)冷卻與(yu)溫(wen)控設施,更是因為(wei)黏(nian)性微粒會對布(bu)(bu)袋(dai)糊(hu)死而(er)使(shi)其失效) 。所以(yi),業(ye)主(zhu)在(zai)了(le)解(jie)本項技術原理及小(xiao)試成果的(de)基礎上,毅然選(xuan)用了(le)雙層濾(lv)料(liao)(liao)顆(ke)粒床(chuang)高溫(wen)除塵(chen)技術,為(wei)該(gai)技術提供了(le)難得的(de)工(gong)程示范機會。根據2 臺13 t鋁(lv)合(he)金熔化(hua)爐的(de)煙(yan)(yan)氣(qi)量, 雙層濾(lv)料(liao)(liao)顆(ke)粒床(chuang)高溫(wen)除塵(chen)器(qi)的(de)設計(ji)處(chu)理量為(wei) 48 000 m3Ph , 除塵(chen)器(qi)分8 個過(guo)濾(lv)單(dan)元(yuan),單(dan)列8 層布(bu)(bu)置(zhi), 每個過(guo)濾(lv)單(dan)元(yuan)的(de)過(guo)濾(lv)床(chuang)面(mian)積為(wei)5 000 ×1 500 ,如圖2、圖3 所示。
|
該(gai)試驗系統(tong)2008 年1 月建成運行,測試表(biao)明,除塵(chen)器的進口(kou)溫度高時可達450 ℃, 出口(kou)粉塵(chen)小于 10 mgPm3 ,除塵(chen)消煙效果好于預期目(mu)(mu)標,運行穩定可靠(kao),項目(mu)(mu)獲得圓滿完(wan)成。
上述試驗項(xiang)目(mu)獲得成功(gong)后(hou),一套設(she)計處理量(liang)為 120 000 m3Ph的雙層濾料顆(ke)粒(li)床高溫除塵系統(tong)擬用于(yu)江陰市海虹有(you)色(se)金屬材料有(you)限公司6 ×15 t鋁合金熔化爐的消(xiao)煙(yan)除塵上, 目(mu)前該(gai)系統(tong)正(zheng)處于(yu)安裝(zhuang)調試階(jie)段。
4 結論
從(cong)小試(shi)和工(gong)業試(shi)驗結果看(kan),雙層濾料顆粒床高溫除塵技(ji)術具有以下特點:
1) 效率(lv)(lv)高。除(chu)塵效率(lv)(lv)達到99.99 % , 排放濃渡小于(yu)20 mgPm3 。
2) 耐高溫(wen)。內殼體(ti)采用鍋爐鋼時(shi)可耐500 ℃;采用耐熱鋼時(shi),可耐800 ℃。
3) 可靠性高。沒(mei)(mei)有(you)運(yun)動(dong)部(bu)件(jian),沒(mei)(mei)有(you)如陶瓷管那樣的易脆易斷易阻(zu)塞的元件(jian),因而經久耐(nai)用,維護簡(jian)單(dan)。
4) 投資(zi)、維護和運(yun)行費(fei)(fei)用(yong)低。沒(mei)有如陶瓷管(guan)(guan)那樣(yang)的(de)昂貴元件(jian),也(ye)沒(mei)有如移動床那樣(yang)的(de)大量濾(lv)料循環, 因而(er)投資(zi)、維護和運(yun)行費(fei)(fei)用(yong)遠低于(yu)陶瓷管(guan)(guan)過濾(lv)器,也(ye)低于(yu)移動床過濾(lv)器。
5) 壓降(jiang)低(di)。床層壓降(jiang)小于1 600 Pa ,僅(jin)為陶瓷管過濾器的1P10 ,也僅(jin)為文丘里濕法(fa)除(chu)塵系(xi)統的1P10。 6) 對(dui)治理含(han)有黏(nian)性粒子的冶(ye)煉(lian)煙(yan)氣(qi)的適應性強。
因此,雙(shuang)層(ceng)濾料顆粒床高溫除塵(chen)(chen)(chen)技術(shu)是迄今最可(ke)靠實用的(de)高溫除塵(chen)(chen)(chen)技術(shu),且可(ke)廣(guang)泛應用于能(neng)源(yuan)、冶金(jin)、化(hua)(hua)工(gong)材料、焚燒(shao)(shao)等(deng)爐(lu)(lu)窯的(de)煙氣除塵(chen)(chen)(chen)。如(ru)冶金(jin)工(gong)業的(de)高爐(lu)(lu)、轉爐(lu)(lu)、電弧爐(lu)(lu)、燒(shao)(shao)結爐(lu)(lu)、平爐(lu)(lu)、銅熔煉爐(lu)(lu)、鋁熔煉爐(lu)(lu)等(deng);建材工(gong)業的(de)水泥窯、玻(bo)璃(li)窯、陶瓷爐(lu)(lu)等(deng);化(hua)(hua)工(gong)領(ling)(ling)域(yu)的(de)石油催化(hua)(hua)裂解爐(lu)(lu)、碳黑(hei)爐(lu)(lu)、電石爐(lu)(lu)、氮(dan)肥廠煤(mei)氣爐(lu)(lu)等(deng);固廢處(chu)理的(de)垃(la)圾焚燒(shao)(shao)爐(lu)(lu);能(neng)源(yuan)系統的(de)IGCC、多聯產中的(de)熱煤(mei)氣除塵(chen)(chen)(chen)等(deng)。該技術(shu)在這(zhe)些領(ling)(ling)域(yu)的(de)應用,將(jiang)有(you)顯著的(de)節能(neng)減排、節水節資效益,應用前景廣(guang)闊(kuo)。

使用微信“掃一掃”功能添加“谷騰環保網”