燃煤電廠240t 循環流化床鍋爐電袋組合式除塵器的應用
摘要:介紹電袋組合式除塵器在燃煤電廠240t 循環流化床鍋爐尾部靜電除塵器改造工程中的應用,主要內容包括系統設計、除塵器設計、環保部門的測試結果以及取得的改造效益,并對其結構和技術特點做了進一步的闡述。
關鍵詞:燃煤電廠,循環流化床鍋爐,電袋組合式除塵器
0 引言
山西某自備電廠有4 臺YG2240P9182M1 型240 tPh 循環流化床鍋爐。該鍋爐為高溫高壓、單氣包橫置式、單爐膛、自然循環、全鋼架π型濾置。改造前鍋爐除塵器采用XKD150 ×4P2 干式、臥式、板式雙室四電場電除塵,2006 年上半年相繼投用,但投用后煙塵排放濃度一直未達到國家標準(50 mg/m3 ) 的要求值。需要對除塵器進行技術改造。經現場考察,采用電袋組合式除塵器進行技術改造,于2007 年下半年分別完成了4 臺除塵設備的改造工程,投用后經環保部門監測達到煙塵排放要求。
1 除塵設備改造方案
1.1 煤樣分析
煤樣分析見表1。
![]() |
1.2 灰分成分分析
灰分成分分析見表2。
![]() |
1.3 主要設計參數
除塵器設計主要技術參數見表3。
![]() |
1.4 改造方案
國內外電袋組合式除塵器在結構形式上,可以分為以下三種形式:
1)“前電后袋式”結構。其一般形式是:在一個除塵箱體內,前部為靜電除塵單元,后部為袋式除塵單元(圖1) 。
![]() |
“前電后袋式”電袋組合式除塵器將前級電除塵和后級袋式除塵串聯成一體,煙氣經過前區靜電除塵后進入后區袋式除塵。
2)“靜電增強型”結構。其一般形式是:在一個除塵箱體內,前部設置一段預荷電區,使顆粒物帶電。帶電顆粒物隨煙氣進入后區過濾段被濾袋過濾層收集(圖2) 。
![]() |
3)“電袋一體”結構。此種形式又稱“嵌入式”電袋組合式除塵器,其主要結構為: 在一個除塵箱體內,靜電部分(放電極和收集板) 和濾袋的交替成排布置(圖3) ,兩者同時工作達到除塵效果。
![]() |
目前,在國內電袋組合式除塵器的應用主要為第一種結構:“前電后袋式”。以上3 種結構的電袋組合式除塵器存在著一個相同點,即靜電除塵空間與袋式除塵空間聯在一起。循環流化床鍋爐燃用煤種比較復雜、起停頻繁、點爐噴油啟動易產生糊袋或者燒袋。電除塵采用負電暈產生的O3 直接作用濾袋,易損壞濾袋。
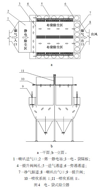
鑒于以上考慮,本工程中我們提出了一種新型的電袋組合式除塵器(專利號ZLGL2007120009 ,結構見圖4) ,它由完整保留的原靜電除塵器第一電場和在被拆除的后三級電場內安裝的袋式除塵器組成。電除塵器、袋式除塵器加裝隔板隔開,由外加煙道連接成組合式除塵器。主要設計參數見表4。
|
鍋爐尾部排出的高溫含塵煙氣先經過保留的靜電除塵器第一電場除塵,由靜電除塵器后部(拆除第二電場的一部分空間) 進入兩側的排氣煙道,煙氣通過煙道提升閥進入袋式除塵器(拆除的第二電場的一部分和第三、四電場) ,從出口提升閥進入尾部煙囪煙道。
一電場電除塵器后的兩側排氣煙道同時設有旁路提升閥,使高溫煙氣可以直接進入尾部煙囪煙道。
1.5 主要特點
作為靜電除塵器和袋式除塵器的有機結合,電袋組合式除塵器充分發揮了兩種除塵器各自的優勢。本次電袋組合除塵器具有以下主要特點:
1.5.1 結構特點
1) 采用第一電場靜電除塵器與袋式除塵器串聯為一體,但各自獨立,前電后袋。
2) 靜電除塵器排氣后兩端設置袋式除塵器進氣通道,合理地解決了袋式除塵器和靜電除塵器的連接問題,使得煙氣中的O3 有還原空間。
3) 后級袋式除塵器分室設計,并在進出口都設置通氣閥門,可以實現離線和在線清灰。
4) 進入后級袋式除塵器前,設有旁通煙道,安裝有通氣閥門,利于工況調節作用。
5) 氣動閥、氣包采用各自氣路和儲氣罐。
1.5.2 技術特點
1) 前級第一電場收塵效率在60 %~ 80 %之間,后級袋式除塵器的粉塵負荷只有除塵器入口的20 %~40 %。
2) 除塵效率不受高比阻細微粉塵影響,不受煤種、煙灰特性影響,排放濃度容易實現在50 mg/m3 以下,且長期穩定。
3) 第一電場對粉塵實現荷電,由于電荷效應使粉塵在沉積后結構比較松散,有利于減低布袋粉塵層的過濾阻力。
4) 第一電場除去了顆粒較大的粉塵,減輕了粉塵對濾袋的磨損;后級袋式除塵器粉塵負荷降低,延長了清灰周期,減少了壓縮空氣對濾袋的損害。除去大顆粒粉塵、減少噴吹次數都可以保護濾袋,利于延長濾袋使用壽命。
2 測試結果
2007 年8 月進行2 號爐鍋爐除塵器改造,2007 年 9 月18 日進入初次投運。自除塵器投運以來,運轉情況良好。運行3 個月后,山西省環境監測中心站到現場監測,自備電廠2 號鍋爐電袋組合式除塵器煙塵最大排放濃度為14.71 mg/m3 (表5) 。2007 年9 月到 2008 年1 月又相繼對該電廠剩余鍋爐除塵器進行了改造,監測3 號、4 號鍋爐煙塵最大排放濃度分別為 7.48 ,6.24 mg/m3 ,均符合GB13223 - 2003《火電廠煙塵排放標準》的要求。
![]() |
3 效益
山西某自備電廠鍋爐電袋組合式除塵器改造后運行至今,除塵器使用正常,年減少煙塵排放量6 500 余t ,顯著改善了當地的環境空氣質量,對當地的社會進步、經濟發展創造了有利條件。
參考文獻
[1 ] GB13223 - 2003 火電廠大氣污染物排放標準[ S] .
[2 ] 劉練波,許世森. 靜電布袋復合除塵器的試驗研究[J ] . 動力工程, 2007 (2) :1032106.
[3 ] 榮偉東,張國權,劉攻智. 靜電增強布袋除塵器的實驗研究及其應用[J ] . 建筑熱能通風空調,2003 (2) :29231.
[4 ] 許秦坤,張鳳林. 一種新穎電—袋復合除塵器的提出及其除塵機理研究[J ] . 南方金屬,2007 (4) :14217.
[5 ] 李剛,張鳳林,許秦坤. 新型電—袋一體化除塵器結構及機理分析[J ] . 江西有色金屬,2006 (6) :45248.
[6 ] 吳京楊. 電袋復合型除塵器的應用分析[J ] . 能源環境保護,2007 (8) :628.

使用微信“掃一掃”功能添加“谷騰環保網”